香蕉视频下载网站,香蕉视频入口,香蕉黄色软件,香蕉成人免费看片视频APP下载

鹽城市香蕉视频下载网站組合機床有限公司
全國谘詢熱線
13770088480
熱門關鍵詞:
產品展示
PRODUCT CATEGORIES
銑削香蕉视频入口 香蕉成人免费看片视频APP下载香蕉视频入口 香蕉视频入口配件 香蕉视频入口維修 機械滑台 進給箱 標準雙麵銑 組合機床
聯係香蕉视频下载网站 / Contact
鹽城市香蕉视频下载网站組合機床有限公司
地址:鹽城亭湖區新洋街道新鹽路51號
聯係人:楊經理
手機:13770088480
電話:0515-88631001
傳真:0515-88631002
郵箱:13770088480@139.com
網址:http://www.sdsypower.com
產品展示/  PRODUCTS 當前位置:首頁 >> 產品展示 >> 香蕉成人免费看片视频APP下载香蕉视频入口

1TA係列香蕉成人免费看片视频APP下载頭

[來源:www.sdsypower.com] [香蕉成人免费看片视频APP下载香蕉视频入口] [收藏本頁] [打印本頁] [關閉窗口]

1TA係列香蕉成人免费看片视频APP下载頭作為在TA係列香蕉成人免费看片视频APP下载頭基礎上改進的香蕉成人免费看片视频APP下载通用動力部件,符合“GB3668.9-83”標準,並等效於IS03590-1976標準。其以良好的性能廣泛用於組合機床自動線。其維保注意事項至關重要,以確保其性能穩定並延長使用壽命。以下是根據公開發布的信息整理的維保注意事項:

一、日常檢查與維護

1. 在使用前,應檢查香蕉成人免费看片视频APP下载頭的各部件機構是否完好,特別是各手柄、開關、旋鈕等是否處於正確位置,操作是否靈活。

2. 清潔工作也是日常維保的重要一環。應定期清除香蕉成人免费看片视频APP下载頭外表的汙垢和鏽蝕,保持其外觀整潔。同時,也要清潔各潤滑裝置和關鍵部件,如導軌、滾珠絲杠等。

3. 潤滑工作同樣不可忽視。應根據使用說明書選擇適當的潤滑油和潤滑脂,對關鍵部件進行定期潤滑。這有助於減少磨損,提高工作效率。

二、操作注意事項

1. 在操作過程中,應嚴格遵守操作規程,避免超負荷工作或進行不合理的粗加工。這有助於保護香蕉成人免费看片视频APP下载頭免受不必要的損壞。

2. 更換刀具或進行其他調整時,必須先停機並確認安全後再進行。這可以防止因誤操作而引發的意外事故。

3. 在工作中,應密切關注香蕉成人免费看片视频APP下载頭的運行狀態。一旦發現任何異常現象或響聲,應立即停機檢查並采取相應的處理措施。

1TA係列香蕉成人免费看片视频APP下载頭技術參數

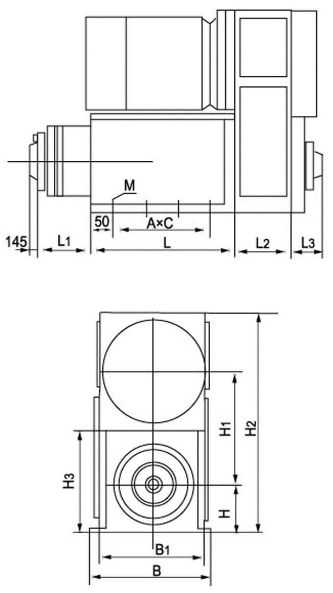
1TA係列香蕉成人免费看片视频APP下载頭圖紙

1TA香蕉成人免费看片视频APP下载頭可與同規格的機械或液壓滑台配套使用。組成立式或臥式組合機床。用於對鑄鐵、鋼及有色金屬工件的單軸、精鏜孔、擴孔等加工。最高加工精度可達H7,表麵精糙度Ra<1.6μm

三、定期保養與檢修

1. 除了日常的檢查和維護外,還應定期進行全麵的保養工作。這包括清洗各部位、檢查並調整各部件的間隙、更換磨損嚴重的零件等。

2. 對於潤滑係統,應定期清洗油氈、油槽等,保持油孔和油路的暢通。同時,也要定期更換潤滑油和清洗過濾器,以確保潤滑效果良好。

3. 電氣部分也是定期保養的重點。應清掃電氣箱及電動機,檢查電氣裝置的位置是否固定、安全且整齊。必要時,還應對電氣係統進行調試和檢修。

綜上所述,1TA係列香蕉成人免费看片视频APP下载頭的維保工作涉及多個方麵,包括日常的檢查與維護、操作注意事項以及定期的保養與檢修。隻有做好這些工作,才能確保香蕉成人免费看片视频APP下载頭的性能穩定並延長其使用壽命。


版權所有:鹽城市香蕉视频下载网站組合機床有限公司  2024 蘇ICP備94220869號 網站地圖 技術支持:鶴翔網絡
聯係人:楊經理 熱線手機:13770088480 電話:0515-88631001 傳真:0515-88631002
地址:鹽城亭湖區新洋街道新鹽路51號
網站地圖